скотовод
Ветеран форума
    
Карма +516/-2
Offline
Пол: 
Сообщений: 2550
Уфа
Иж-Ода УЗАМ1,7i
|
 |
« Ответ #15 : 22 Июля 2010, 07:32:34 » |
|
Малевича из меня не выйдет
|
|
|
|
Записан
|
|
|
|
скотовод
Ветеран форума
    
Карма +516/-2
Offline
Пол: 
Сообщений: 2550
Уфа
Иж-Ода УЗАМ1,7i
|
 |
« Ответ #16 : 22 Июля 2010, 07:35:21 » |
|
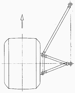
На кулаке - шпилька под реактивную тягу, на нижнем рычаге - под амморт. Также думаю все понимают, что площадка под пружину на нижнем рычаге имеет достаточные размеры, чтоб под ней свободно поместился вал привода
|
|
|
|
|
Записан
|
|
|
|
|
вареник
Гость
|
 |
« Ответ #17 : 22 Июля 2010, 07:46:26 » |
|
площадка под пружину на нижнем рычаге имеет достаточные размеры, чтоб под ней свободно поместился вал привода Т.е. площадка выше привода. Понятно. Как осуществляется регулировка схода и развала? Рычаги одинаковые по длинне?
|
|
|
|
« Последнее редактирование: 22 Июля 2010, 07:47:39 от вареник »
|
Записан
|
|
|
|
скотовод
Ветеран форума
    
Карма +516/-2
Offline
Пол: 
Сообщений: 2550
Уфа
Иж-Ода УЗАМ1,7i
|
 |
« Ответ #18 : 22 Июля 2010, 09:14:32 » |
|
Как осуществляется регулировка схода и развала? Рычаги одинаковые по длинне? на верхнем рычаге - развальный болт с эксцентриковыми гайками (как на передних стойках короче). Рычаги - да. Ещё раз повторюсь - это всё пока - результат медитации под пиво. К детальной проработке пока не перешёл. Кулак думаю в принципе изготовить вновь (правый/левый, одинаково короче) фрезерованием из стальной кованной полузаготовки (просто кованный паралеллипипед), теоретическая возможность есть, практически - пока не знаю. Рычаги в идеале - штампованные, на деле - придётся стопудово варить из труб. Ну и т.д. и т.п. Вот ещё что - эллипс вокруг кулака - это я типа тормозной щит нарисовал, тормоза барабанные, ЗДТ в принципе мне за ненадобностью
|
|
|
|
« Последнее редактирование: 22 Июля 2010, 09:18:27 от скотовод »
|
Записан
|
|
|
|
скотовод
Ветеран форума
    
Карма +516/-2
Offline
Пол: 
Сообщений: 2550
Уфа
Иж-Ода УЗАМ1,7i
|
 |
« Ответ #19 : 22 Июля 2010, 09:27:35 » |
|
Про сход. Есть необходимость его регулировать? Хотелось бы уточнить. Каким образом это осуществляется на аналогичных машинах (с ЗП и рычажной подвеской)?
|
|
|
|
|
Записан
|
|
|
|
|
вареник
Гость
|
 |
« Ответ #20 : 22 Июля 2010, 09:31:52 » |
|
Каким образом это осуществляется на аналогичных машинах С ЗП не знаю. С ПП регулировкой длины одной из нижних тяг рычага. Надо думать... Увеличение жесткости на изгиб продольной реактивной тяги?
|
|
|
|
« Последнее редактирование: 22 Июля 2010, 09:33:16 от вареник »
|
Записан
|
|
|
|
weiss Igel
Ветеран форума
    
Карма +876/-2
Offline
Пол: 
Сообщений: 5286
Далеко, там, где неба кончается край...
В память о Надежде
  Москва Иж-2126-wI
|
 |
« Ответ #21 : 22 Июля 2010, 09:33:22 » |
|
Про сход. Есть необходимость его регулировать? Хотелось бы уточнить. Каким образом это осуществляется на аналогичных машинах (с ЗП и рычажной подвеской)?
так же как и на переде, только без рейки, посмотри фотки в теме Цыгана про НЗП, там хорошо получилось, вот только имхо с расчетом геометрии не всё так просто, если хочешь ездить быстрее 50 км\ч. вот если бы полностью скопировать подвеску аналогичного авто, был бы наверное хороший результат
|
|
|
|
|
Записан
|
"Ночь темна, мир отчаянно пуст, Облака плывут домой До тебя долетит моя грусть, Упадет с ресниц слезой Жизнь и смерть всего лишь два мгновенья Бесконечна только наша боль…" Любим, помним....
|
|
|
скотовод
Ветеран форума
    
Карма +516/-2
Offline
Пол: 
Сообщений: 2550
Уфа
Иж-Ода УЗАМ1,7i
|
 |
« Ответ #22 : 22 Июля 2010, 11:55:49 » |
|
так же как и на переде, только без рейки, посмотри фотки в теме Цыгана про НЗП, там хорошо получилось, фотки видел. макферсон в зад? неохота. вот если бы полностью скопировать подвеску аналогичного авто, был бы наверное хороший результат на копейки, где то читал, устанавливают подвеску с подрамником от бмв (вроде), с "обработкой напильником" по месту, естественно
|
|
|
|
|
Записан
|
|
|
|
weiss Igel
Ветеран форума
    
Карма +876/-2
Offline
Пол: 
Сообщений: 5286
Далеко, там, где неба кончается край...
В память о Надежде
  Москва Иж-2126-wI
|
 |
« Ответ #23 : 22 Июля 2010, 12:11:58 » |
|
макферсон в зад? неохота. не макферсон, а обычные тяги рулевые, закрепленные на подрамнике, вот ими сход и делать
|
|
|
|
|
Записан
|
"Ночь темна, мир отчаянно пуст, Облака плывут домой До тебя долетит моя грусть, Упадет с ресниц слезой Жизнь и смерть всего лишь два мгновенья Бесконечна только наша боль…" Любим, помним....
|
|
|
скотовод
Ветеран форума
    
Карма +516/-2
Offline
Пол: 
Сообщений: 2550
Уфа
Иж-Ода УЗАМ1,7i
|
 |
« Ответ #24 : 22 Июля 2010, 12:14:37 » |
|
не макферсон, а обычные тяги рулевые, закрепленные на подрамнике, вот ими сход и делать непонял, переведи относительно подвески Цигана, понятно, а вот как это на том, что я нарисовал? вот ещё что нашёл: http://sanekua.ru/nezavisimaya-pruzhina/
|
|
|
|
« Последнее редактирование: 22 Июля 2010, 12:22:27 от скотовод »
|
Записан
|
|
|
|
weiss Igel
Ветеран форума
    
Карма +876/-2
Offline
Пол: 
Сообщений: 5286
Далеко, там, где неба кончается край...
В память о Надежде
  Москва Иж-2126-wI
|
 |
« Ответ #25 : 22 Июля 2010, 12:15:44 » |
|
относительно твоей -- никак, но у тебя же эскиз пока, а не чертежи для производства зы. вот так не хочешь? 
|
|
|
|
« Последнее редактирование: 22 Июля 2010, 12:17:09 от weiss Igel »
|
Записан
|
"Ночь темна, мир отчаянно пуст, Облака плывут домой До тебя долетит моя грусть, Упадет с ресниц слезой Жизнь и смерть всего лишь два мгновенья Бесконечна только наша боль…" Любим, помним....
|
|
|
скотовод
Ветеран форума
    
Карма +516/-2
Offline
Пол: 
Сообщений: 2550
Уфа
Иж-Ода УЗАМ1,7i
|
 |
« Ответ #26 : 22 Июля 2010, 12:23:19 » |
|
|
|
|
|
|
Записан
|
|
|
|
|
|
|
JUDJIN
Гость
|
 |
« Ответ #28 : 25 Июля 2010, 13:06:00 » |
|
|
|
|
|
|
Записан
|
|
|
|
weiss Igel
Ветеран форума
    
Карма +876/-2
Offline
Пол: 
Сообщений: 5286
Далеко, там, где неба кончается край...
В память о Надежде
  Москва Иж-2126-wI
|
 |
« Ответ #29 : 26 Июля 2010, 09:33:01 » |
|
Думаю над подвеской на поперечных рычагах с реактивной тягой и стабилизатором всё таки хочешь НЗП? тогда ответь на вопрос, для каких конкретно целей тебе нужна НЗП? просто нормально сконструировать НЗП не так просто, тут нужен целый конструкторский коллектив, повторять наколенную разработку Нормы? два раза хм.... у ёжика не такая уж и плохая управляемость, зачем ее портить? если хочешь уменьшить неподрессоренные массы, уйти от эксклюзивного редуктора, (тормоза нормальные и на наш мост ставяться), то имхо есть неплохой вариант -- подвеска типа «Де Дион», геометрию и крепление моста сохраняем, поведение машины на дороге не ухудшится, добавляем редуктор на подрамнике, кулаки бы оставить вазовские, только тормоза барабанные к ним добавить
|
|
|
|
|
Записан
|
"Ночь темна, мир отчаянно пуст, Облака плывут домой До тебя долетит моя грусть, Упадет с ресниц слезой Жизнь и смерть всего лишь два мгновенья Бесконечна только наша боль…" Любим, помним....
|
|
|
|